Инструменты / Поляриметры

На этой странице приведено описание поляриметрических инструментов, данные которых используются в каталоге базы.

Двухканальные фотоэлектрические поляриметры POLSHAKH

Комплекс POLSHAKH включает два двухканальных фотоэлектрических поляриметра, разработанных для высокоточных поляриметрических наблюдений астрофизических объектов.

Один прибор установлен на 2.6-м телескопе ЗТШ Крымской астрофизической обсерватории, второй — на 2-м RCC телескопе обсерватории Пик Терскол.

Конструкция приборов основана на двухканальной схеме регистрации, позволяющей одновременно измерять ортогональные компоненты поляризации и тем самым повышать устойчивость измерений к изменениям прозрачности атмосферы и вариациям условий наблюдений.

Поляриметры работают в широкополосных фотометрических полосах и допускают использование специализированных узкополосных фильтров.

Крымская астрофизическая обсерватория

2.6-м телескоп ЗТШ, конфигурация POLSHAKH для высокоточных поляриметрических наблюдений.

Обсерватория Пик Терскол

2-м RCC телескоп, конфигурация POLSHAKH с собственной оптической и спектральной реализацией.

Оптическая схема

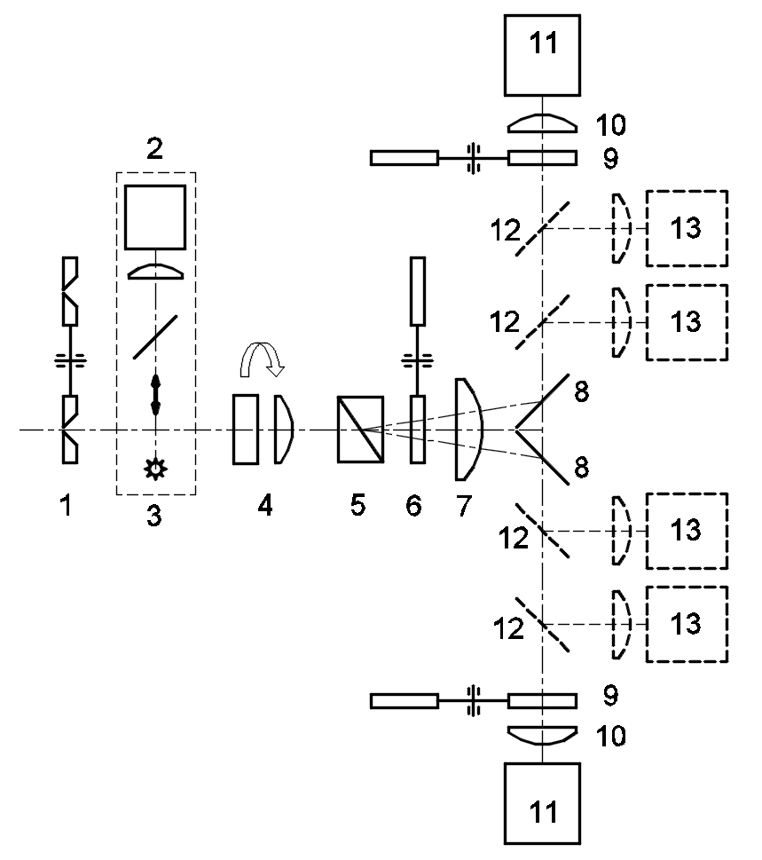
Оптическая схема прибора включает фазовые пластины, полевую и коллимирующую оптику, призму Волластона, систему фильтров и независимые регистрирующие каналы. Двухканальная схема позволяет одновременно регистрировать интенсивности ортогональных поляризационных компонент излучения.

POLSHAKH optical scheme
Рис. 1 — Оптическая схема двухканального поляриметра POLSHAKH.
1 — Фокус телескопа
2 — Линза поля
3 — Фазовая пластина λ/2 (модулятор)
4 — Нейтральный фильтр
5 — Призма Волластона
6 — Коллиматор
7 — Объектив
8 — Разделитель пучка
9 — Интерференционные фильтры
10 — Линза Фабри
11 — Фотоумножитель (ФЭУ)
12 — Отражающие зеркала
13 — Каналы регистрации

Поляризационные элементы

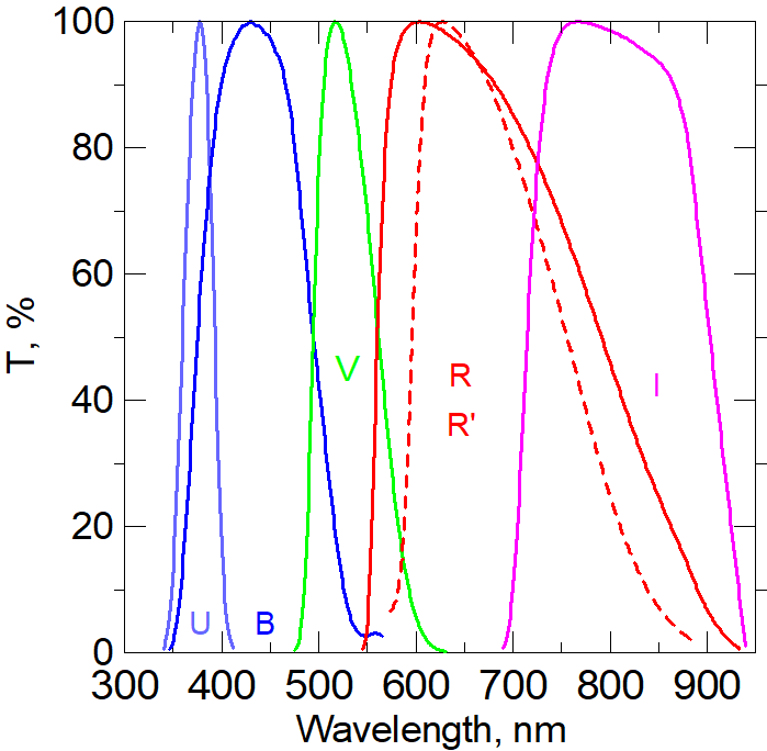
Поляризационные свойства прибора определяются характеристиками фазовых пластин. На рисунках ниже показаны спектральные зависимости фазового сдвига для пластин λ/4 и λ/2.

Спектральные характеристики

Поляриметры оснащены системой сменных оптических элементов, включая широкополосные фотометрические фильтры и специализированные фильтры. Их спектральные характеристики определяют рабочий диапазон приборов и особенности их применения в различных наблюдательных программах.

Конфигурация оптического тракта

Оптический тракт прибора включает фазовую пластину, линзу поля, призму Волластона, коллиматор, фильтровый узел и фотоприёмные каналы. Модульная конструкция позволяет изменять конфигурацию прибора в зависимости от типа наблюдений.

Optical path
Оптический тракт прибора POLSHAKH.

Использование этих данных в базе

Наблюдения, полученные с использованием этих инструментов, представлены в каталоге базы данных.

Особое место занимают новые поляриметрические измерения сближающихся с Землёй астероидов, выполненные в Крымской астрофизической обсерватории и обсерватории Пик Терскол.

В каталоге наблюдений данные, полученные в рамках этих наблюдательных программ, выделены жёлтым цветом.
Перейти к каталогу наблюдений

Основная публикация

Шаховской Д.Н., Киселев Н.Н., Долгополов А.В., Антонюк К.А., Иванов Ю.С., Карпов Н.В., Тарадий В.К., Савушкин А.А., Рябов А.В., Таран А.В.

Двухканальные фотоэлектрические поляриметры (POLSHAKH) Крымской астрофизической обсерватории и обсерватории Пик Терскол: принципиальная схема, конструкция и результаты первых наблюдений. Научные труды ИНАСАН, 2024, т. 9, № 4, с. 165–176.

DOI: 10.51194/INASAN.2024.9.4.009